A Royal Enfield Continental GT 650 has been spied with a bikini fairing and remote adjusters for the twin rear shock absorbers. This could be a hint that the Chennai-based marque might be bringing out a road-going version of their race bike, the GT-R 650, used in the Royal Enfield Continental GT Cup.
- Bike features small front fairing
- Rear suspension has remote adjusters
Royal Enfield Continental GT 650 spied: details
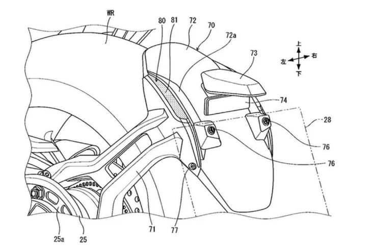
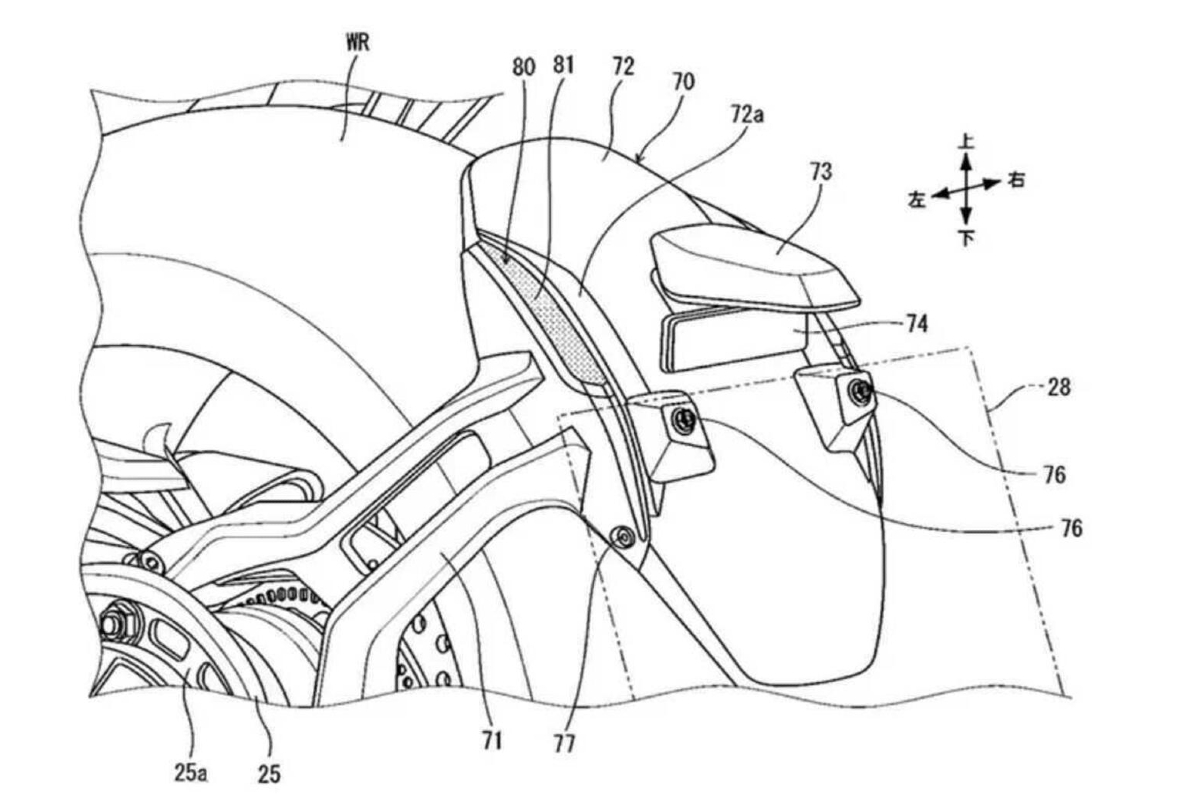
The motorcycle that's been spotted features a small front fairing with mounting points for a full set of fairing as well. It's no secret that the Royal Enfield 650 twins have been a modifier’s delight, with many aftermarket shops offering a full fairing kit for the Continental GT 650. Seeing the growing popularity of this trend, Royal Enfield might have decided to offer it as a factory-fitted option or, at the very least, an accessory.
The bar-end mirrors are a result of the front fairing as the conventional mirrors would foul with it. The mirrors themselves appear to be the units found in RE's vast accessories catalogue. The bike spotted here is in the Dux Deluxe colour scheme and largely appears to be the same mechanically as the standard Continental GT 650, with one exception. The twin rear shock absorbers feature an adjuster which is likely there only to fine-tune the suspension in the testing stages, and, chances are, won’t be carried over to the finished bike.
Recently, a Continental GT 650 was also spotted testing with alloy wheels, indicating that RE might soon be revamping its existing 650cc portfolio while introducing a few new models as well. RE is also working on a liquid-cooled Himalayan and a revamped Bullet 350 with the J-platform engine as well. Exciting times ahead for RE indeed.































