The TVS iQube e-scooter is currently the company’s only electric offering. In a recent conference, however, TVS’ director and CEO KN Radhakrishnan revealed that the brand will be launching multiple new electric models in different segments in the next 18 months, and these will fall in the 5kW to 25kW power output bracket.
The iQube uses a hub motor, which is not very well suited for applications where power output is higher than 5kW, so it was widely expected that TVS would have to develop a new powertrain for its upcoming models. Now, a recent patent filing shows what this new powertrain will be like.
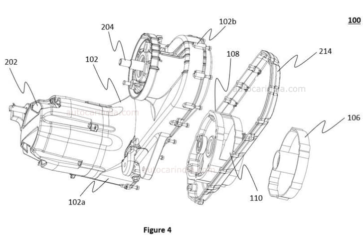
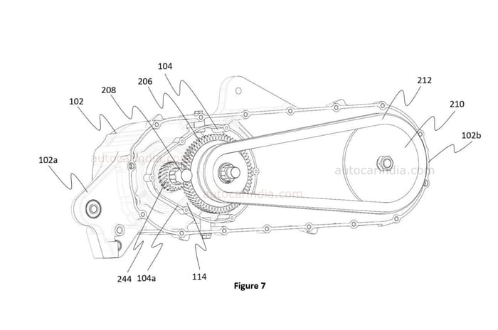
The patent shows a design for a new mid-mounted motor intended for use on an e-scooter, which sends its drive to the rear wheel via a simple transmission system housed in the swingarm. The transmission casing is what essentially forms the swingarm itself. The casing is at one end attached via a pivot (102a) to the vehicle’s frame, and at the other end supports the rear axle.

At the front end of the casing lies a drive gear (206), which receives power from the motor output shaft, and at the other end sits the driven gear (210) that sends the power to the rear wheel. The two are connected by what TVS calls an "endless transmission drive" (212), which the patent later goes on to elaborate could be a chain drive or a belt drive. What this means is that there will be a speed reduction ratio (the motor and rear wheel will spin at different speeds), unlike a hub motor, where the drive is sent directly, and the motor and the wheel spin at the same speed.
.jpg?w=700&c=0)
This mid-mounted design is far better suited to higher power applications, and systems similar to this are deployed on the likes of the Ola S1 Pro and Ather 450X. So even though the patent drawings show this drivetrain set-up installed on a placeholder TVS Wego, expect it to eventually find its way onto a more performance-oriented upcoming e-scooter from TVS. Before that happens, though, the flagship position in TVS’ electric line-up will first go to the iQube ST – the top-end variant of the iQube that was announced last year but is yet to be launched.



























