Yamaha has filed a patent application for the use of an electric turbo on what appears to be one of its CP3 three-cylinder engine motorcycles. If it comes into production, this could result in an engine with a significantly higher power output than the 119hp in the YZF-R9 and its naked sibling, the MT-09.
- Uses an electrically controlled turbocharger
- Does not appear to have a heavy battery or hybrid
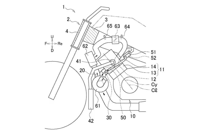
Yamaha turbocharged engine details
Turbo fitted to Yamaha’s three cylinder engine is electronically controlled
Where Honda has decided to go with an electric compressor for its V3 engine, Yamaha is going down the route of an electrically controlled turbocharger. E-turbos are already in use in some high-end cars and they help minimise turbo lag by electrically spinning the turbo vanes faster than they would have been via the exhaust gases.

These new patent images show that Yamaha isn’t going with a complicated hybrid system or a large battery pack. Instead, the e-turbo appears to be connected to a generator that is driven off the crankshaft. There is likely to be a high voltage electric system in place to make this work, as with e-turbo equipped cars.

As of now, this is just a patent image, and it's not the first time Yamaha has dabbled with turbocharged concepts that haven't seen the light of day. So a production version is sometime away, if it does at all appear. Meanwhile, Honda’s fascinating concept looks a lot closer to production ready and you can click here to read about that and take a look at some high resolution images of the innovative technology.
Source: Visordown























