BMW Motorrad has been steadily developing and expanding its electric two-wheeler portfolio for a while now. In recent times, we’ve seen the Bavarian manufacturer launch the futuristic-looking CE-04 electric scooter, and going by leaked patent filings, it now seems like there’s a new electric motorcycle in the works.
1. New BMW electric motorcycle seems to be based on BMW G310R
2. Components likely borrowed from CE-04 electric scooter
BMW electric motorcycle details
The leaked patent images of the BMW electric motorcycle show the battery, motor and controller nestled inside the frame of what looks like that of the G310R motorcycle. The design could only be indicative, but it seems like BMW may be looking to make an electric motorcycle that isn’t as large or expensive as its running prototype, the E-Power Roadster that was showcased a long time ago.
Close inspection of the images suggest that the components used seem to be taken from the BMW CE-04 electric scooter. That would allow BMW to keep costs in check as well as reduce development time. More importantly, it seems like BMW has neatly packaged the electric powertrain to compensate for the lack of space in a motorcycle, unlike a scooter where there's more real estate to place components.
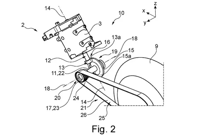
The battery, for instance, is placed where you’d usually find the engine in a motorcycle. It is tilted slightly forward to make the most of the available space. Behind the battery lies the electric motor that’s placed longitudinally, which allows packaging advantages since a large-sized motor can be placed. The motor seems to drive a bevel gear that sends power to the front sprocket that is connected to a large sprocket on the back wheel, with a belt drive.
It is uncertain if the motor seen here has the same performance specifications as the CE-04’s motor. For reference, the CE-04’s motor has a rated output of 15kW (20hp) and a maximum output of 31KW or 42hp. It enables the CE-04 to sprint from 0-50kph in a claimed 2.6sec and on to a claimed top speed of 120kph. Also, the CE-04 has a 8.9kWh battery that powers the motor and has a claimed range of 130km.
Like the motor and battery, the control units and charger also seem to be taken from the CE-04 with one set of electronics located at the bottom.
In terms of storage, there seems to be a hollow space inside the “tank” and it should be able to hold a few daily essentials.
All said, the leaked patent images suggest that BMW is working on bringing an electric motorcycle to the market. As and when that happens remains to be seen. However, given the costs involved, it’ll surely be pricier than a BMW G310R.




























