With each passing day, bikes are becoming more electronically advanced with everything from electronic safety and performance aids to radar- and camera-based systems being offered on modern day luxury touring bikes. Now, Honda has patented self-balancing technology for its bikes, and the bike that it is being shown on is, unsurprisingly, the Gold Wing.
Honda self-balancing technology details
We’ve all seen the wild videos of trials riders frantically turning the handlebar left and right in an effort to keep the bike upright while at a standstill, and that's basically what Honda is aiming to do here. When the bike moves forward or backward, a sensor is used to detect whether the bike is tilted more toward the left or right and then counterbalance that motion by giving tiny inputs in the opposite direction.
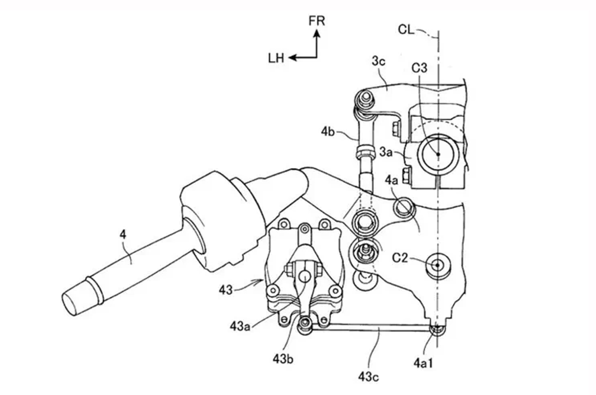
This will be particularly useful when pushing or moving around a big, heavy bike like, for instance, the Gold Wing. The patent applications show a steering servo mounted on the bike’s girder fork, which will turn the fork (and therefore the handlebar) either way depending on the command issued by the on-board computer. This command will take into consideration the bike’s lean angle and speed via the IMU (Inertial Measurement Unit), which will then be issued to the steering servo. While the patent application images show this system on a Gold Wing, it could eventually find its way to an adventure bike like the Africa Twin as well.






















